You have a brilliant new invention, and you want to obtain a patent to protect your rights. While patenting your invention is undoubtedly an important stage in the development of your Intellectual Property (IP) portfolio, the question of whether an invention is patentable is only one of several issues that have to be taken into consideration as part of your IP strategy.
To understand why determination of the patentability of an invention alone may not be sufficient, it is helpful to consider the concepts of patentability and patent infringement, and the differences between them.
In order to be patentable, an invention must pass three tests:
• It must be useful – that is, it must have some practical application;
• It must be novel – that is, the identical invention must not have been publicly disclosed prior to your filing of a patent application;
• It must be inventive – that is, the invention must not be "obvious" to a person of ordinary skill in the art.
Patent infringement occurs when someone makes, uses, sells, or offers for sale a product or method that includes every limitation of a claim of a valid patent. If these actions will not infringe an existing patent, then the prospective manufacturer, user, or seller is said to have "Freedom to Operate" ("FTO" for short).
These two concepts are independent of one another. That is, when the patentability of an invention is assessed as part of the examination of a patent application, the assessment is limited to the three criteria listed above. The question of whether the use of the invention would infringe an existing patent is not considered. Similarly, manufacture, use, or sale of a product that incorporates every limitation of a claim of a valid patent will infringe the patent even if the infringing product is not patentable.
For example, suppose your invention comprises elements ABCD, but there is a currently valid patent protecting a device ABC. If ABCD is not an obvious variant of ABC, then your invention is useful, novel, and not obvious, and hence patentable. But if you tried to manufacture, use, or sell it, it is likely that you would be infringing the existing patent, which includes within its scope any device that includes ABC, even if that device has additional components and even if that device is patentable!
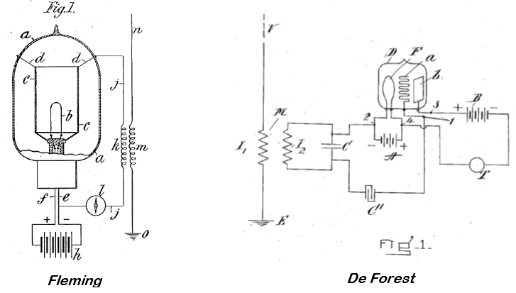
A case from more than a century ago provides a classic example of the difference between patentability and FTO. In 1880, Thomas Edison discovered that an electrical current will flow in a vacuum from a heated filament to a positively charged electrode. After the discovery of the electron in 1897, this "Edison Effect" was finally explained as being due to thermionic emission of electrons from the filament. In 1904, the English engineer J. A. Fleming, who had worked with Edison and with Marconi, was working on improvements in radio receiving apparatus, and came up with the vital insight that since in the Edison Effect, the electrical current only flows in one direction, it could be used to rectify high-frequency alternating current. Based on this realization, he invented the first practical vacuum tube, and in November 1905, he was granted a patent on his "Fleming valve" (U.S. Pat. No. 803,684). The Fleming valve comprises a sealed evacuated vessel (a), a first conductor (b) and means for heating it, a second electrode (c), and external electrical connection (j) that completes the circuit between the two electrodes.
Shortly thereafter, the American engineer Lee De Forest invented the "Audion" triode amplifier. The essential inventive advance was the discovery that by incorporating a "grid" (a) between the filament (F) and the second electrode (b), the vacuum tube could amplify the signal passing from the filament to the electrode.
The two inventions are illustrated here.

There was no question that De Forest's invention met the three criteria for patentability, and a patent was granted in February 1908 (U.S. Pat. No. 879,532). There was only one small problem – it is not possible to build an Audion amplifier that does not include all four elements of the Fleming valve. That means that while De Forest's Audion was patentable, he did not have FTO to use it, because it is impossible to build an Audion that does not include every element listed in the claims of Fleming's patent. And indeed, it was determined in court that De Forest's invention infringed Fleming's patent. In that instance, the problem was solved by cross-licensing the two patents.
Not every story will necessarily have such a happy ending for all concerned. . . .
What are the important takeaways from the difference between patentability and FTO?
• It is possible that an invention can be patentable, but the manufacture or use of the invention will infringe an existing patent.
• Not only patentability, but FTO as well should be considered from the earliest stages of development of your invention in order to direct development away from configurations that are likely to be problematic.
• It is also important to understand that a patent is a locally granted, and a locally enforced right – there is no such thing as a worldwide patent. Even patents that all derive from the same initial application can have differing scopes of protection in different countries. That means that you might have FTO in one country but not in another, which means that it is worthwhile to do a thorough FTO search for every country in which you think that you might want to manufacture, use, or sell your invention.
Here at RHS Patent Consulting, we have extensive experience with preparation of FTO and patentability opinions, and will be more than happy to advise you on these issues as part of your overall patent and IP strategy.